Crowbar
USE: heel clamps are used to leverage, move, lift, lift, position or stall heavy loads. MANUFACTURING: the steel chosen is a steel heavily loaded with carbon. These ...




HD Images
- USE: heel clamps are used to leverage, move, lift, lift, position or stall heavy loads.
- MANUFACTURING: the steel chosen is a steel heavily loaded with carbon.
- These great products are traditionally made by Mob in "free forge", so it is the redsmith who realizes by hand and unitarily the desired shape.
- This work requires an informed look, a rigor of realization, and a good physical condition.
- This is the quintessence of the redsmith trade.
- FINISH: a new chain of epoxy paint for long products has emerged for increased quality and a better respect for the environment..
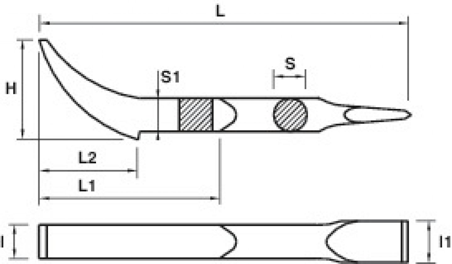
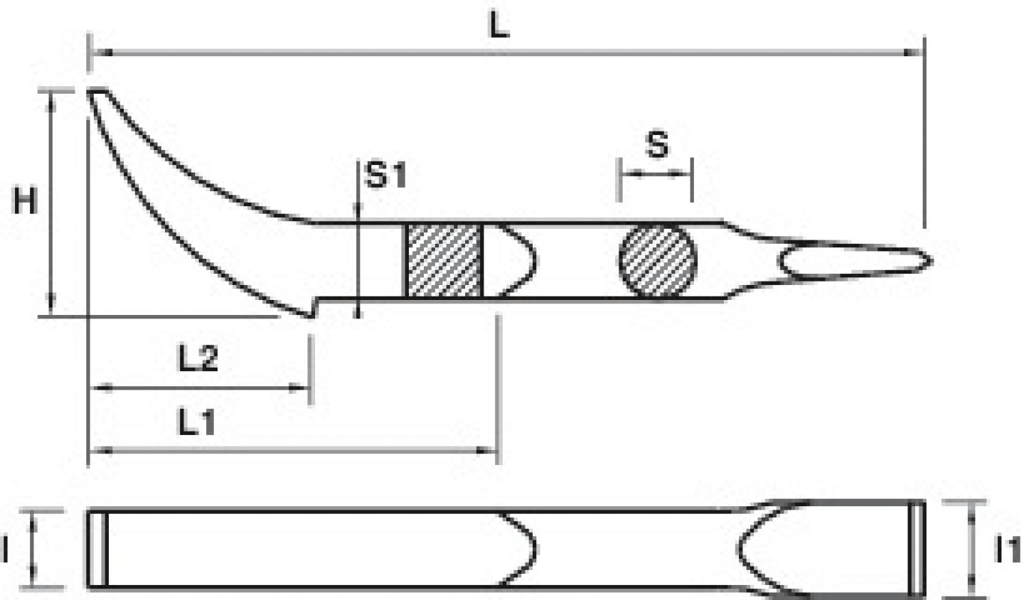
| L m | L2 mm | S mm | S1 mm | H mm | l1 mm | kg | G | ![]() | ||||
|---|---|---|---|---|---|---|---|---|---|---|---|---|
| 0,50 | 160 | 60 | 20 | 28 | 50 | 28 | 25 | 1,6 | G30 | 0150050601 | 1 | 3303800150010 |
| 0,75 | 250 | 75 | 24 | 28 | 65 | 33 | 30 | 3,2 | G30 | 0150070601 | 1 | 3303800150027 |
| 1 | 300 | 80 | 27 | 32 | 70 | 36 | 38 | 5 | G30 | 0150100601 | 1 | 3303800150034 |
| 1,50 | 400 | 110 | 33 | 40 | 90 | 42 | 44 | 12 | G30 | 0150150601 | 1 | 3303800150058 |




kg